3 min read
The referral to the CJEU by the UPC Court of Appeal (CoA) in Dyson v. Dreame – CJEU referral rightly got a lot of attention last week, including by us in UPC Weekly 2026 w10. But the reality is that the CJEU will not answer the questions about UPC jurisdiction quickly. Conscious of this, the CoA dealt with everything but the trickiest jurisdictional questions by way of final decision.
The substantive aspects of the CoA decision on the preliminary injunction (PI) are set out in Dyson v. Dreame – substantive infringement. The CoA completely reviewed the first instance decision and overturned significant aspects. The end result is a materially broader claim interpretation and further guidance on the utility of the file wrapper in UPC proceedings.
EP 3119235 B1 was granted in April 2025 after a long process of examination by the EPO involving many sets of observations on patentability filed by third parties, which interestingly relied exclusively on prior art originating from the patent proprietor. The patent has since been opposed at the EPO, but the opposition is still at an early stage.
The patent relates to an attachment for a hot styling brush hair care appliance. Claim 1 is below. The features needing most attention for claim interpretation are shown in bold.
1. An attachment (30) for a hand held appliance comprising a body having a wall, a fluid inlet at one end of the wall and a fluid outlet through the wall,
wherein:
the fluid outlet comprises a slot (102, 202, 282) extending along the wall,
the slot (102, 202, 282) is formed by an overlap of a first end of the wall and a second end of the wall,
the attachment (30) is tubular,
the slot (102, 202, 282) extends longitudinally along the tubular attachment (30),
hair is wrapped around the attachment (30) in the direction of fluid flow,
the fluid emitted from the fluid outlet is attracted to an external surface (112) of the wall, and
fluid emitted from the fluid outlet flows around the external surface (112) of the wall.
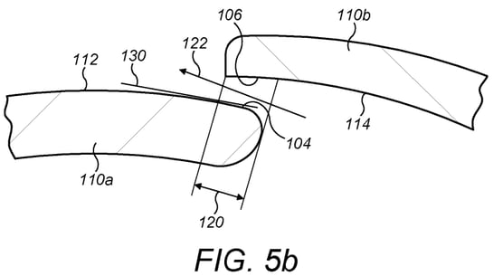
The attachment causes air to flow out of the slot circumferentially around the outside of the tubular attachment by a clever bit of fluid dynamics and this causes hair to wrap around with the airflow. In the embodiment shown below, the slots 102 are formed by overlapping adjacent plates 110a, 110b.


At first instance, the alleged infringing products from Dreame were referred to as the AirStyle Pro, the Pocket Neo (shown below), the AirStyle and the Pocket (shown below).
Dreame Pocket Neo Dreame Pocket


Dreame Pocket Neo Dreame Pocket


As we explained in UPC Weekly 2025 w34, the Hamburg LD carried out a detailed interpretation of the features of the claim defining the slot, from which the air flows to wrap, dry and style hair. They considered whether it was appropriate to refer to the file wrapper from EPO prosecution. Following the approach of the UPC CoA in Alexion v. Samsung (see also UPC Weekly 2025 w2), the LD stated that the granting procedure is not by itself relevant for the interpretation of the claim. However, the patentee’s assertions during the grant proceedings, and the agreement of the EPO examining division with these assertions, can be seen as an indication of the view of the person skilled in the art at the filing date.
The court was happy to give various features of the claim a functional or purposive interpretation, such as “overlap” and “longitudinal”. However, the reference to “ends” of the wall was taken to limit the claim, in part based on the discussion of the scope of the claim in the file wrapper.
The effect of this was that the new products (the Dreame AirStyle Pro and Pocket Neo) were considered not to infringe, because the air flow apertures were formed through the plates. However, the older products (the Dreame AirStyle and Pocket) were infringements, because the air flow apertures were formed at the join between adjacent plates. The difference in outcome for the older and newer products was whether the “slot” forming the fluid outlet was formed by an overlap of a first end of the wall and a second end of the wall. The Hamburg LD therefore granted the PI only in respect of the older products.
Both sides appealed. After filing the appeal, Dyson applied to add a further set of alleged infringements. The CoA allowed this, because Dreame only started selling these after Dyson filed the grounds of appeal and so this claim could not have been made earlier. The newest products are similar to the Pocket Neo type attachments shown above, which the LD decided did not infringe.
First key question: is there an “overlap”?
This depends on where you view it from, said the CoA. If you look at the slot from the “wrong” angle, there is no overlap. Dreame argued that the viewpoint should be along a radial line centred on the axis of the tubular attachment. The CoA dismissed this as not having basis in the patent and also disagreed with the interpretation applied by the Hamburg LD as placing undue emphasis on the function of the overlap, saying:
While the function of a structural element must be considered when interpreting a claim feature relating to such an element, the interpretation must likewise take into account the physical and spatial configuration of the elements as taught by the patent.
Relying on various parts of the description and drawings (in particular Fig. 5b above), the CoA therefore decided that the viewpoint for determining whether there is an overlap should be generally perpendicular to the outer surface of the first end of the wall. The right sort of direction is indicated by the lines shown in Fig. 5b with the spacing arrow 120.
Dreame had argued that the court should take into account statements made by Dyson in the examination of a corresponding US patent application. The CoA considered this. They left open the possibility that such statements could be relevant. However, the statements were not decisive in the US for distinguishing the invention claimed there from the cited prior art, particularly as the prior art did not disclose an overlap from either viewpoint.
Second key question: what does “end of wall” mean?
This was the feature that caused the LD to decide that the newer Dreame products did not infringe.
The CoA took a different view. They noted that Fig. 3a shows an arrangement of plates with slots formed by an overlap of the ends of the plates, but that claim 1 is not limited to this. They noted that the description explicitly says that the use of plates is “preferred”, and so the patent “makes clear that the ends of the wall may be realised otherwise than by the ends of plates.” The CoA also noted that the function of the slot, to provide airflow in the required direction, was not dependent on the end of a wall being the end of a plate.
The upshot of this was that the CoA decided that a slot formed as an aperture within a plate, as in the newer Dreame products, could fall inside the scope of the claim.
Here again the CoA considered evidence from patent prosecution, this time from the EPO file. The EPO examiner had apparently considered this point in relation to the prior art, but had not provided detailed reasons for why claim 1 was novel and inventive over that prior art.
CoA debated whether they should follow their approach in Alexion v. Samsung and consider the interpretation given by the EPO examiner as representative of what the skilled person would understand the claims to mean. In this case, the CoA decided that this should not override the careful claim interpretation done by the CoA. In any event, they pointed out that the prior art under consideration by the EPO examiner did not disclose an overlap and so would not be relevant to validity.
Third key question: can multiple slots in the same wall be inside the scope of claim 1?
Dreame argued that the “ends” of the wall in claim 1 means that multiple slots would not be covered. Since each wall can only have one first end and one second end, these can only cooperate to define one slot. The CoA did not agree, pointing to the open wording of the claims – the word “comprising” allows more than one fluid outlet and more than one slot formed by overlapping ends of the wall.
The result was that all of the products complained of were considered to infringe the patent. As a result, the PI is now expanded compared to the first instance, with all three classes the Dreame products subject to the preliminary injunction.
One caveat here is that this is a PI case. Although the UPC considers claim interpretation very carefully in PI cases, in principle this is a summary assessment on the basis of “is the patent more likely than not infringed?” There is a merits case progressing at the Hamburg LD, so we will have to see if there are different arguments and evidence set out there, in particular on validity.
I have to confess, reading claim 1 and looking at the drawings and the description, my initial impression of the meaning of the word “end” in relation to the wall was not the same as the CoA’s. Based on the previous CoA guidance on claim interpretation, it could be expected that “end” would be given the meaning closer to that used in the embodiments, whether or not those embodiments are described as “preferable”, given that no alternative embodiments clearly disclosed a broader meaning. Had this approach been taken, it would still have been possible to find infringement by equivalence. However, what can be taken from the decision is that the purpose of the slot was most important, despite the CoA’s comments about physical and spatial configuration in relation to the term “overlap”. Provided that features corresponding to the “ends” of the wall could be identified – the being read on to the opposing sides of the slot – then infringement could be established.
Matthew is a UPC Representative and European Patent Attorney. He is a Partner and Litigator at Mewburn Ellis. He handles patent and design work in the fields of materials and engineering. His work encompasses drafting, prosecution, opposition, dispute resolution and litigation – all stages of the patent life cycle. Matthew has a degree and PhD in materials science from the University of Oxford. His focus is on helping clients to navigate the opportunities and challenges of the Unified Patent Court.
Email: matthew.naylor@mewburn.com
Stay up to date with our latest thinking.