Claim interpretation at the UPC has been one of the most consistent threads through the decisions coming out of the first instance UPC courts, due in part to an early setting of the overall approach by the UPC Court of Appeal (CoA) in 10x v. NanoString. However, the courts have been noticeably reluctant to commit to a position on the sensitive questions of the effect of the file wrapper on claim interpretation, and which test to apply for infringement by equivalence. Both of these issues make an appearance this week.
The closest the CoA have come to endorsing the use of the file wrapper was first in Alexion v. Samsung (see also UPC Weekly 2025 w2) and then in Philips v. Belkin (see also UPC Weekly 2025 w41). In the Alexion case, the CoA said that the granting procedure is not by itself relevant for the interpretation of the claim. However, the patentee’s assertions during the grant proceedings, and the agreement of the EPO examining division with these assertions, can be seen as an indication of the view of the person skilled in the art at the filing date. The approach was approved in the Philips case, but there the patentee’s statements in EPO examination did not adversely affect the interpretation of the claims.
Occlutech v. Lepu Medical is a decision on an application for a preliminary injunction (PI) based on EP 1998686 B2. The patent had survived EPO opposition and appeal proceedings, with only a small amendment in one of the independent claims.
The patent defines an occlusion device for implantation in the body. This is to close an atrial septal defect, for example. The device is claimed as having a specific shape and comprises braiding of thin wires or threads.
For claim interpretation and an assessment of the risk of infringement, the key point was whether the claim could cover a device comprising a mesh formed using only a single wire.
The UPC Local Division Düsseldorf did not find much guidance on this point from the description, except that the plural “wires” was routinely used and general references were made to braiding.
What did help guide the court, though, was the decision of the EPO opposition division. Back in 2012, one of the same prior art documents (CN 2524710Y) had been cited. The patentee had argued that this prior art disclosed an atrial septal defect occlusion device comprising a mesh formed using a single wire, by knitting or weaving. The patentee argued that this was significantly different to braiding of plural wires. The opposition division expressly agreed with this assessment and found claim 1 to be novel for this reason.
The court referred to the UPC CoA decision in Alexion v. Samsung and used these statements in the file wrapper as an indication of how the skilled person would interpret the relevant feature of claim 1. And so the court decided that there was likely no infringement – the PI was refused.
Raccords et Plastiques Nicoll v. First Plast is a decision from the UPC Local Division Paris for infringement of EP 3272938 B1. As we will consider further below, there was no counterclaim for revocation.
The patent protects a drainage gutter that might be installed in a patio, for example. There is a drainage channel defining a longitudinal direction and having a cover on top. The drainage channel and the cover are installed in a trench in the ground and are overlaid with paving slabs. The cover has an arrangement of at least two upwardly-facing spacer elements. These are arranged longitudinally and are separated by an aligned opening for water to flow through.
The drawings of the patent aren’t particularly easy to understand, but the drawing below shows one embodiment. In this case, the paving slabs aren’t shown but you can see the spacer elements 440 (removable studs in this case) and the openings located between them, all aligned along the longitudinal direction of the gutter 10.

This is easier to understand. For claim interpretation and infringement, the only question was whether the alleged infringement had the required spacer elements and the openings aligned between them. The first image below shows a computer render of the cover installed in the gutter. The second image shows a photo of the system being installed, also showing one paving slab laid on top of the cover.
The alleged infringement has a square-wave shaped moulded rib that is connected to the cover along its entire length and which traces around rectangular openings through the cover. It is clear that the rib serves to space the paving slabs..png?width=800&height=334&name=logos-2%20(2).png)
Interesting tactical defence
In order to force a squeeze on claim interpretation, it is usually advisable to defend an infringement action at the UPC with a counterclaim for revocation. That way, the defendant may be able to show that the broad interpretation of the claims advanced by the patentee would render the patent invalid over the prior art. However, in the event that the patent is deemed not infringed but valid, the defendant runs the significant risk of having to pay the patentee’s costs of defending the revocation counterclaim, even if the defendant is successful in defending the infringement action.
Whether these costs points were material for the defendant in this case, we don’t know. But in any event, they chose the tactical approach of not filing a counterclaim for revocation, but still relying on the relevance of the file wrapper.
Prosecution of the patent application at the EPO was brief. There was an extended European search report. The applicant replied to this, and the patent was granted at the next step.
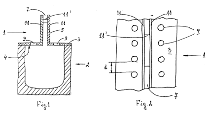
The examiner had cited various documents including US 2003/0185628 A1. This disclosed a similar drain but with a different approach to provide spacing between the paving slabs. There were two elongate upstanding walls 11 extending all the way along the cover 1. A drainage slot 7 was defined between the upstanding walls 11, with spacers 11’ located between the upstanding walls 11 at regular intervals. Fig. 1 shows a cross-sectional view and Fig. 2 shows a view from above.

In reply to the European search opinion, the patentee had argued that the two walls 11 together defined a single spacer element. Alternatively, if each wall 11 is considered to be a spacer element, these were argued to be arranged transversely rather than longitudinally. At the same time, the patentee amended the claim to include the longitudinal alignment requirement for the spacer elements.
The court decided that the alleged infringement has only a single spacer element, being the single square-wave rib. The court also considered the possibility that each elongate part of the square-wave shape could be considered to be a spacer element, but this would also not meet the requirements of the claim because each spacer element should abut against opposing paving slabs.
The court acknowledged that the UPC CoA, in Alexion v. Samsung, had only used the file history to indicate the skilled person’s understanding of the claims. In this case, the court considered that the patentee had made amendments to avoid US 2003/0185628 A1 and had explained the significance of the differences between the amended claim and the prior art. The result was that the scope of the claims was limited by these amendments in the way explained by the patentee in the file wrapper. Rather than being evidence of the skilled person’s understanding of the claims, this seems closer to holding the patentee to these admissions, even if they now turn out to be against their interest.
On this basis, the Local Division decided that the claim was not literally infringed because the alleged infringement did not have the required “at least two spacer elements” – the square-wave rib is a single element.
The patentee tried to argue for infringement by equivalence. However, this came unstuck. The parties could not agree on a suitable framework for a UPC DoE, and the court was not minded to set one out. As we have seen in other first instance cases, the court did agree that any infringement by equivalence would require that the alleged infringement used a variant that fulfils essentially the same function in order to achieve essentially the same effect. And so first the court needed to identify the function of the spacer elements.
The patentee argued that the function of the spacer elements should relate to the way in which water drains through the cover, rather than the spacing of the paving slabs. The court decided that this function was not clearly derivable from the patent, and therefore it would not be right to allow a finding of equivalence based on this asserted function. The court’s view also seemed to be that the spacing function was not an appropriate basis on which to assess equivalence, because the alleged infringement seemed to achieve this effect in a similar way to the prior art.
Matthew is a UPC Representative and European Patent Attorney. He is a Partner and Litigator at Mewburn Ellis. He handles patent and design work in the fields of materials and engineering. His work encompasses drafting, prosecution, opposition, dispute resolution and litigation – all stages of the patent life cycle. Matthew has a degree and PhD in materials science from the University of Oxford. His focus is on helping clients to navigate the opportunities and challenges of the Unified Patent Court.
Email: matthew.naylor@mewburn.com
Our IP specialists work at all stage of the IP life cycle and provide strategic advice about patent, trade mark and registered designs, as well as any IP-related disputes and legal and commercial requirements.
Our peopleWe have an easily-accessible office in central London, as well as a number of regional offices throughout the UK and an office in Munich, Germany. We’d love to hear from you, so please get in touch.
Get in touch