3 min read
2026 Week 9
I’ve been on a journey with this case. Read the headnote and it looks harsh. UPC Court of Appeal (CoA) overturns the first instance decision on validity and then goes on to decide infringement for the first time, leaving the defendant with no route of appeal and facing damages, injunction and destruction of their machines. Add to that an impression that the CoA thinks that the sufficiency of dependent claims doesn’t matter and you start wondering. But context is everything and in this article we lead you through it all.
When we reviewed the first instance decision from the Mannheim Local Division (LD) in Rematec v. Europe Forestry, the first impressions were that the LD had got it about right. See UPC Weekly 2025 w9. Rematec’s European patent EP 2548648 B1 had been granted by the EPO without touching the sides and looked “strong” on this basis. But Europe Forestry found some further prior art and defended against the UPC infringement action with a counterclaim for revocation.
On appeal, just over a year later, the UPC Court of Appeal (CoA) has completely reversed the first instance decision, in Rematec v. Europe Forestry (appeal).
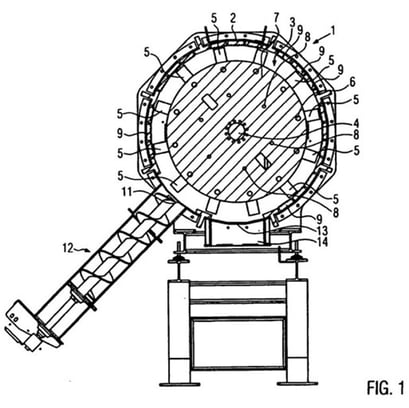
Let’s take a step back. The patent claims a kind of extreme wood chipper. In the prior art, you gravity feed larger bits of wood into a machine from the top, these get smashed up by rotating hammers and the smaller chips of wood come out of the base of the machine. The invention is the idea to place the inlet not at the top but closer to the base so that the bits of wood travel further inside the machine, past the top, grinding them more. In the drawing the rotor 3 inside the drum 2 rotates clockwise and the inlet 11 is fed along tube 12 by a screw conveyor and the outlet 13 is at the base of the drum.

Claim 1 of the patent reads, with feature numbering from the UPC decisions and with important features shown in bold:
1a) Mill (1) for the grinding of grist, in particular wood chips,
1b) with a grinder having a rotor (3) with a plurality of grinding elements (5), wherein the rotor (3) can be driven in a grinding area about an axis of rotation (R),
1c) wherein the internal wall (2) of the grinding area cooperates with the grinding elements (5) to grind the grist,
1d) wherein the grinding area has a feed-in opening (11) and a discharge opening (13) which enable essentially radial feed-in and discharge of grist relative to the axis of rotation (R),
characterised in that
1e) the feed-in opening (11) and the discharge opening (13) are each arranged in the lower region of the grinding area,
1f) the feed-in opening (11), the highest point in the grinding area and the discharge opening (13) are arranged in sequence at the circumference of the internal wall (2) of the grinding area in the direction of rotation (R) of the rotor (3) and
1g) the discharge opening (13) is free of sieves.
Rematec requested an injunction against Europe Forestry that matched the wording of claim 1. However, perhaps attuned to a potential problem with such an injunction in view of feature 1g of the claim, they requested as an alternative that the discharge opening has bars formed across it, with a minimum opening size defined in the tangential direction of at least 200mm and in the axial direction of at least 50mm (or at least 70mm, or at least 90mm, or at least 110mm).
The alleged infringement clearly has an axial feed-in and an outlet at the base of the drum. The outlet has bars (shown in blue) arranged at 110mm axial spacing, but the customer can choose different spacings, including spacings down to 50mm.


The patentee Rematec filed 9 different auxiliary requests with various amendments, but the LD decided that the patent was invalid based on the prior art.
A key feature of the first instance decision was the interpretation of feature 1d of claim 1. It’s noticeable that in the written decision, the court did not seem to rely on any particular evidence for their interpretation – none from the description of the patent and none from experts, for example.
The LD noted that claim 1 does not define the presence of a feed-in mechanism, only that the inlet opening must be designed in such a way that they enable an essentially radial feed of material into the mill. They considered that “essentially” should be interpreted generously, because the inlet should be understood as a corridor having a certain width, which speaking geometrically could not be directed towards the centre of rotation across its whole width. At least for claim 1, they considered that the material to be ground does not need to be transported through the opening in the radial direction.
The LD decided that granted claim 1 lacked novelty over D3 (DE3414567A1) and looked in particular at Figs. 3 and 8 of D3:


The LD observed that some incoming feed in Fig. 3 would travel adjacent to partition wall 28, and so would arrive radially in the grinding area. And they considered that provided this applies for at least some of the incoming feed, then the “essentially radial” requirement would be met. And still further, for claim 1 there is only the requirement to enable the “essentially radial feed-in”.
Fig. 8 was referred to, because D3 itself describes the feed-in as “tangential”, because the outer wall 29 of the inlet conduit meets the drum wall tangentially.
For completeness, the first instance decision set out its view of the relevance of D3 if claim 1 were to be understood to require a radial feed-in direction of all of the material through the inlet. They considered that claim 1 would lack inventive step because D3 provided general teaching for the skilled person to play with the position and angle of the openings. One point to bear in mind, though, is that this view was expressed well before the Court of Appeal had set out its definitive view on inventive step in Edwards v. Meril and Sanofi v. Amgen.
The LD stepped through the auxiliary requests and decided that each of these was either not novel or not inventive. The defendant had also raised objections of lack of sufficiency of disclosure of dependent claims 6 and 8, but this was not addressed in the decision.
Because of this, the LD said that there was no need to consider the infringement action – this was dismissed without setting out substantive reasons and the patent was revoked.
A key divergence from the LD decision by the CoA is their interpretation of feature 1d – the “essentially radial” feature. Although the explanation of this feature looks at first sight not much different to the LD explanation, the CoA refer to paragraphs 0002 and 0003 of the description of the patent which in turn refer to document D8 (DE3020955A1) showing an example of radial and D9 (EP0164489A2) showing an example of tangential. The CoA expressly refer to their own case law and also G 1/24 of the EPO Enlarged Board of Appeal, that the description and drawings must always be taken into account when interpreting the claims.


The CoA note that it would be possible to push in material essentially radially in D9, but that the correct interpretation of feature 1d of claim 1 is:
… feature 1d is intended to achieve an essentially radial feed-in and discharge by means of a corresponding configuration of the feed-in and discharge openings.
And the effect of “essentially” is:
… the orientation of the feed-in and discharge to be enabled does not depend on a strictly geometrical understanding. Rather, it is sufficient to enable a configuration in which the grist is fed in and discharged in a direction that is more radial than tangential
Armed with this different interpretation of feature 1d of claim 1, the CoA looked at the same validity attacks. With respect to D3 (shown above), the CoA considered that Figs. 3 and 8 of D3 show feed-in and/or discharge openings that are not oriented essentially radially relative to the rotational axis, and so no correspondingly oriented feed-in and discharge is enabled. Instead, these are essentially tangential.
Even though some embodiments of D3 did use radially oriented openings into the grinding area, the CoA decided that claim 1 was inventive, due to the lack of motivation to the skilled person to combine the “essentially radial” configuration with the location of the inlet and outlet so as to maximise the travel of the material from the inlet to the outlet, increasing grinding efficiency.
The CoA stepped through the other prior art attacks and concluded that the independent claims were also novel and inventive over these.
Europe Forestry had also contended that dependent claims 6 and 8 lacked sufficiency of disclosure. These claims defined specifics of how the material is ground in the grinding area. But the CoA dismissed this objection entirely, on the basis that the counterclaim for revocation of claim 1 was not successful. Because claim 1 encompasses claims 6 and 8, there is no legal interest in deciding on sufficiency of disclosure of these dependent claims. There was apparently no argument raised that claim 1 was insufficiently disclosed.
For those working in EPO examination and opposition proceedings, this will attract attention. It is completely normal at the EPO to have the sufficiency of dependent claims considered separately, in particular where they claim performance characteristics that would clearly be inventive but which are not enabled by the disclosure of the patent.
To my eye, the UPC CoA is not saying that the EPO is wrong to assess sufficiency of dependent claims. Instead, they are saying that this objection raised by the defendant would not get them out of infringement of a valid independent claim, so the court is not going to waste time on this issue. And this goes to the heart of the difference between EPO proceedings and UPC proceedings, with the latter being primarily to adjudicate efficiently on material disputes between parties. It would be interesting to see if the CoA have the same view of added matter for dependent claims.
Having decided that the patent as granted is valid, the CoA turned to the question of infringement. The parties had argued infringement in writing and at the oral hearing. But the first instance decision did not shed any light on the LD’s view on this topic.
Should the CoA remit the case back to the LD to decide on infringement? Article 75 UPCA says this:
Article 75
(1) If an appeal pursuant to Article 73 is well-founded, the Court of Appeal shall revoke the decision of the Court of First Instance and give a final decision. The Court of Appeal may in exceptional cases and in accordance with the Rules of Procedure refer the case back to the Court of First Instance for decision.
(2) Where a case is referred back to the Court of First Instance pursuant to paragraph 1, the Court of First Instance shall be bound by the decision of the Court of Appeal on points of law.
The relevant parts of the Rules of Procedure are Rules 242 and 243 RoP. Rule 242.2(b) further elaborates the “exceptional” in Article 75, saying that the CoA shall:
(b) in exceptional circumstances refer the action back to the Court of First Instance for decision or for retrial [Rule 243]. It shall not normally be an exceptional circumstance justifying a referral back that the Court of First Instance failed to decide an issue which it is necessary for the Court of Appeal to decide on appeal.
I confess that my initial impression of the CoA decision was that it seemed pretty tough on the defendant for the CoA to overturn the validity decision and decide the infringement part for the first and final time. There is no route of appeal for the defendant. However, as you can see from the Rules of Procedure, this is pretty much exactly how the system should work. The UPC is intended to provide high quality decisions, yes, but procedural efficiency is paramount.
One comment, though, is that the LD could relatively easily have included obiter views on infringement, particularly since the parties had argued this out fully in writing and at the oral hearing.
As it happened, the facts of the case made it fairly easy for the CoA. The only disputed feature of claim 1 for infringement was the “no sieves” feature of 1g.
Based on the evidence of the defendant’s brochures, the CoA decided that there would be infringement if the bars provided at the discharge opening had side of at least 200mm by at least 70mm. They therefore tailored the injunction to include this requirement – in effect following one the alternative requests of the patentee.
In addition, the court ordered various other remedies including recall and destruction of infringing products. But, in a helpful bit of direction for the defendant, and softening the blow, the court noted that it may be disproportionate for the defendant to have to destroy entire machines. Therefore the “destruction” requirement would be complied with if the defendant simply replaced the bars at the outlet with bars of smaller spacing.
Matthew is a UPC Representative and European Patent Attorney. He is a Partner and Litigator at Mewburn Ellis. He handles patent and design work in the fields of materials and engineering. His work encompasses drafting, prosecution, opposition, dispute resolution and litigation – all stages of the patent life cycle. Matthew has a degree and PhD in materials science from the University of Oxford. His focus is on helping clients to navigate the opportunities and challenges of the Unified Patent Court.
Email: matthew.naylor@mewburn.com
Stay up to date with our latest thinking.