3 min read
The battle of the slow juicers has taken an interesting turn. What had looked like a slightly niche series of appeal cases about jurisdiction has been brought to an abrupt halt by the UPC Court of Appeal (CoA) taking a materially different and narrower claim interpretation compared with the first instance, leading to a final decision that there is no substantive infringement. The CoA decision is here: NUC v. Hurom.
Korean kitchen appliance firm Hurom launched patent infringement proceedings against NUC Electronics and Warmcook for infringement of two patents for juicers: EP 2028981 B1 and EP 3155936 B1. The actions were filed in April 2024 in two different Local Divisions, Mannheim and Paris. The alleged infringing product is the Kuvings Auto10 juicer. The case got complicated because Hurom alleged infringement against three entities (domiciled in Korea, Germany and France), in respect of acts inside the UPC territory but also in Poland, Spain, UK and Turkey.
The first patent was found to be infringed by the Mannheim LD in March 2025. We reviewed that decision in UPC Weekly 2025 w11. There was infringement in the UPC territory, but no infringement in Turkey due to lack of substantiation. In October 2025, the Mannheim LD also found the patent infringed in Poland, Spain and UK by the German and French defendants, but not by the Korean defendant. The Korean defendant escaped infringement due to a lack of detail provided by the claimant on how national law of Poland, Spain and UK would apply to the alleged activities of the Korean defendant.
The relevant claims of the second patent were invalidated by the Paris LD, and we took a look at that in UPC Weekly 2025 w21.
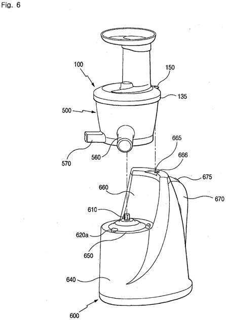
Claim 1 of EP 2028981 B1 is fairly long and so an abbreviated version is set out below, with the UPC’s feature numbering, focussing on feature 1N that was key.
[1A] A juice extractor comprising:
[1B] a cover (100) …
[1C] a housing (500) installed on a lower part of the cover, …
[1G] a screw (200) …
[1K] a mesh drum [300] …
[1L] a rotary brush (400) installed between the housing and the mesh drum (300) …
[1M] a drive unit (600) … rotating the screw (200) at a low speed,
[1N] wherein the housing accommodating the screw is longitudinally fixed to an upper side of the drive unit (600) so as to press, grind and extract juice from materials put into the inlet port and to discharge the draff.
There are two relevant embodiments, shown in Figs. 2 and 6. The housing 500 is where all the food material gets pressed and ground, and this is held with respect to the drive unit 600 by slightly different features in the two embodiments.


The Kuvings Auto10 has a big hopper for food materials above the housing, but otherwise has a generally similar form to the embodiments. The images below show the assembled juicer from two slightly different perspectives, and then the components are shown in exploded view.

The LD’s view was that the purpose of being “longitudinally fixed” is set out in claim 1 itself: to press, grind and extract juice, etc. They noted that there is no indication in the patent why, for claim 1, it should be necessary to avoid vertical lifting of the housing. The relevant parts of the description referred to the prevention of vibration of the screw or unwanted striking of the screw against the inner wall of the mesh drum. The LD therefore considered that the word “longitudinally” was present to define the vertical alignment of the housing, rather than a direction of fastening.
It was relevant that dependent claims 6 and 12 introduced engagement hooks. In each claim, these engagement hooks are on the drive unit (600) and are for securing the housing (500) with respect to the drive unit. The LD decided that this “securing” was not just a further specification of “longitudinally fixed”. The LD relied on parts of the description to show that the patent considered these purposes to be different.
Although the LD had set out a detailed interpretation of many of the features of claim 1, the CoA focussed only on feature 1N.
The CoA first set out the general background and aims of the claimed invention, based on the content of the patent. It was apparent that, in use, the housing should be prevented from moving laterally. In the embodiments, this was achieved by the fixing projections 630 in Fig. 2 or the engagement hooks 620a in Fig. 6. It was also clear that one of the aims of the invention is to prevent vibration of the screw, as noted by the LD. This effect was a stated purpose of the engagement hooks 620 of Fig. 2.
In the view of the CoA, unless the housing is vertically fixed with respect to the drive unit, normal operation of the juice extractor when pressing and grinding materials would tend to cause the housing and screw to move upwards. There is no explicit statement to this effect in the patent, but the CoA considered that this would be apparent to the skilled person. Therefore, “longitudinally fixed” must be interpreted to restrict the movement of the screw and housing away from the drive unit, otherwise the functional requirement of feature 1N would not be satisfied:
It follows that the longitudinal fixation of the housing to an upper side of the drive unit not only requires the housing to be assembled or positioned in a longitudinal direction. It further requires, unlike assessed by the CFI (impugned decision, para. 76), that the fixation prevents vertical lifting of the housing or the screw against the drive unit, thus encompassing a fixation against vertical lifting.
What about the relevance of the dependent claims? The LD said that the engagement hooks of claims 6 and 12 provide an additional effect over claim 1. The CoA disagreed. The engagement hooks of claims 6 and 12 instead recite specific means for realising the longitudinal fixing.
This difference of opinion between the LD and the CoA is striking. The LD took a relatively broad view on interpretation. We previously mentioned that this might be in part due to the lack of a counterclaim for revocation to keep the claim interpretation constrained by the relevance of prior art. On appeal, we have the CoA interpreting the claim more narrowly. The narrower interpretation stems from the skilled person understanding that prevention of vertical lifting of the housing is included in what is being referred to by “longitudinally fixed” in the patent, for satisfactory performance of the function of the juice extractor.
It was agreed at first instance between the parties that the housing of the Auto10 juicer fits onto the drive unit to prevent rotation or lateral movement of the housing. But it is only held in place vertically by gravity. Therefore the housing can be lifted away from the drive unit and also can vibrate. Based on its interpretation of claim 1 as requiring fixation of the housing to prevent vertical lifting of the housing and to reduce vibration, the CoA decided that the Auto10 does not infringe. A possible further question that does not seem to have been addressed in detail is whether the weight of fruit in the massive hopper in the alleged infringement might provide the required fixing of the vertical position of the housing in use.
The images below show the top of the drive unit of the Auto10 juicer – the blocks indicated in the right hand image serve to prevent relative rotation between the housing and the drive unit, but do not prevent lifting of the housing from the drive unit.

The CoA took the opportunity to agree with the LD that the UPC does not have jurisdiction over NUC Korea in respect of Turkey.
At the same time, the CoA clarified an important point for defendants considering challenging jurisdiction in complex cases. In disputes where the UPC clearly does have at least some jurisdiction against the defendants, assertions of lack of jurisdiction (e.g. in respect of a combination of defendants and non-UPC territory) need not be raised by way of a preliminary objection. Instead, it is acceptable for the defendant to raise jurisdictional challenges in their first defence submission. Merely accessing the case via the UPC’s case management system and not filing a preliminary objection does not amount to acceptance of the entire asserted jurisdiction of the UPC.
But with the CoA decision on the substance of infringement, presumably the question of infringement of the patent in Poland, Spain and UK, and the UPC’s jurisdiction over each defendant in respect of these countries, must now fall away. An appeal is pending in that part of the case, but it is not clear whether there is anything meaningful now left to decide.
Matthew is a UPC Representative and European Patent Attorney. He is a Partner and Litigator at Mewburn Ellis. He handles patent and design work in the fields of materials and engineering. His work encompasses drafting, prosecution, opposition, dispute resolution and litigation – all stages of the patent life cycle. Matthew has a degree and PhD in materials science from the University of Oxford. His focus is on helping clients to navigate the opportunities and challenges of the Unified Patent Court.
Email: matthew.naylor@mewburn.com
Stay up to date with our latest thinking.